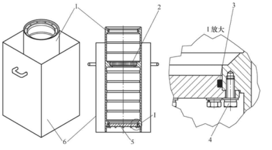
在某型天線裝置中,需要在一個不銹鋼深卷筒中嵌入設計一個內嚙合齒輪(見圖1),并保證該內嚙合齒輪的分度圓和該卷筒內多個同軸定位孔之間至少七級精度以上的同軸度要求.
內嚙合齒輪通常采用滾齒或者插齒的加工方式來實現設計要求,而由于該內嚙合齒輪內嵌在不銹鋼深卷筒內,并和該卷筒形成一個整體,所以無論滾齒機還是插齒機,都無法對深孔內的內嚙合齒輪進行加工,所以通過加工手段直接實現該設計的結構形式是無法完成的,需要通過工藝手段的調整來達到設計意圖.
最簡單便捷的工藝手段就是將卷筒和齒輪分成兩個零件加工,最后通過固定連接形成一個整體.固定連接的方式通常有兩種:螺釘固連和焊接固連.
螺釘固連這種方式需要在深卷筒內部進行打孔攻螺紋的操作,而鉆床在卷筒內部進行鉆深孔操作也有很大的操作困難:①無法進行鉆孔前的劃線和打點工作.②齒輪在卷筒內的安裝面距離卷筒外側端面的距離長短,直接決定了加長鉆頭的長短,使用過長的加長鉆頭進行加工容易使鉆頭斷裂.③即便以上問題都解決了,在卷筒內進行對準孔位、上螺釘和擰螺釘等操作,也因為空間的狹小而難以施展.
綜上所述,采用瑞替普酶治療急性心肌梗死冠狀動脈再通率效果更佳,再通時間早、方便給藥、藥物作用時間長,臨床效果好,是治療急性心肌梗死的較理想的溶栓藥物。
鑒于螺釘固連的方式可行性較低,所以考慮采用另一種固連方式:焊接固連.

圖1 不銹鋼深卷筒及其內嵌式內嚙合齒輪結構尺寸
相比螺釘固連,焊接固連這種方式實施起來更加容易、便捷一些,唯一的問題就是焊接會產生熱變形,從而影響齒輪和卷筒的精度.
在焊接前,先對卷筒和內嚙合齒輪進行獨立加工,留出焊接坡口(見圖2),為了減小焊接固連后焊縫的受力,卷筒和內嚙合齒輪的裝配尺寸公差采用過盈配合(H7/n6).裝配后,由于材料的彈性變形,使配合面之間產生壓力,因此在工作時,配合面間具有相當的摩擦力來傳遞扭矩或軸向力.
過盈配合裝配一般屬于不可拆卸的固定連接,但如果沒有焊縫補強,其傳遞的扭矩過大,會使卷筒和內嚙合齒輪之間產生相對位移,從而破壞過盈緊固,所以必須同時采用過盈配合和焊縫補強來共同實現焊接固連.
過盈配合件的裝配方法通常有4種:人工錘擊法、壓力機壓入法、熱裝法和冷裝法.其中人工錘擊法適用于過渡配合的小零件裝配;壓力機壓入法適用于常溫下過盈量較小的中小零件裝配;熱裝法適用于過盈量較大的零件;冷裝法適用于包容件無法加熱,或加熱會導致零件精度、材料組織變化,影響其力學性能的裝配.綜上所述,采用壓力機進行壓入裝配是更加合適的過盈裝配方式,能夠通過裝配來使齒輪和卷筒達到較高等級的同軸度要求.
以公路工程所在區域對應的數字地形圖為基礎,采用自動方式或手動方式完成路線平面布局,將其作為路線平面分析及橫、縱斷面分析的重要基礎。其主要功能包括:自動提取設置文件與資源,對現有平面線路進行調用;自動完成線路的設置,根據相應的坡度范圍完成平面線路準確設置;對線路設置進行保存,實現線路選定結果的存盤,為隨時調用做好準備;進行平面線路綜合分析,即按照設計要求對選定線路的轉角及坡度進行分析[1]。
在壓裝過程中,按照以下步驟進行:①將內嚙合齒輪外徑水平置于將要壓入的卷筒內徑端面上.②由于壓力機的壓頭無法進入環形深槽進行壓裝,需要制作一個簡單工裝,將直徑約284mm、長度約500mm的金屬棒料置于卷筒內的內嚙合齒輪上表面.③確定金屬棒料的上端面水平后,壓力機壓頭頂住金屬棒上端面,壓入速度不宜太快,采用2~4mm/s.④壓入過程中時刻關注壓力表的壓力顯示,確保壓力變化平穩,如果出現壓力波動,立刻停機檢查零件.⑤壓到位后取出金屬棒,確保內嚙合齒輪上端面和卷筒焊接端面平齊.
壓力機壓裝完后,采用焊接進行齒輪和卷筒的緊固,焊接過程中會產生大量的熱,從而使焊縫周圍的齒廓以及卷筒內部發生熱變形,這些熱變形會極大地影響卷筒及其內嚙合齒輪的形狀尺寸、幾何公差和精度.
各種形式的社團生活,讓老年人的晚年生活過得充實有意義。我的社區我的團,如果您所在的社團夠出彩、有特色,就可以聯系我們一起記錄社團生活的趣事和精彩瞬間,分享給大家。
針對加工難點問題,采取的解決辦法如下:
(1)構建合適的焊接環境.解決焊接熱變形的唯一途徑就是在產生焊接熱的瞬間,外界環境能夠立刻將熱量吸收且達到瞬時冷卻降溫的功效,構建這樣的環境最直接簡易的方式就是水冷.
其中:l1+l5=450 mm,且選定 l1=300 mm,l5=150 mm,根據整個裝置的長度和一般家庭使用的座便器的尺寸選定l2一個合適的值為700 mm.

圖2 采用焊接形式的卷筒及其內嵌式內嚙合齒輪
(2)設計特制工裝.水冷是解決焊接熱變形最行之有效的方法,如何使焊縫盡可能地接近水面,如何使卷筒及內嚙合齒輪盡可能多地和水接觸,是吸收焊接熱量的關鍵.
根據焊接環境以及卷筒和齒輪的結構特點,有針對性地設計了一套焊接工裝組件,目的是達到最大程度的水冷和盡可能多地吸收焊接熱量.該工裝主要由水槽、封蓋、密封圈和緊固螺釘組件構成(見圖3).
水槽的作用是讓卷筒外側的水位線高于焊縫,使傳遞到卷筒外壁的焊接熱量能夠完全被水吸收;封蓋、密封圈和緊固螺釘組件的作用是讓卷筒內部成為一個密封腔體,往卷筒內注水,使水位線盡可能地接近焊縫,這樣焊接直接產生的大量熱量會被內腔的水完全吸收(見圖4).
(3)焊接細節和參數的控制.在焊接過程中,采用氬弧焊,要將焊接電流調整得盡可能小,選較細規格的焊絲,焊接速度盡可能慢,多停頓水冷,分多層完成最終的焊接.
經過反復試驗摸索,以下焊接參數可以保證焊接釋放出的熱量較小:焊接方式為直流正接;氬氣流量控制在10~15L/min;電流控制在80~110A;采用304不銹鋼焊絲,焊絲規格為0.8mm或1mm.
本研究使用多種實驗動物模型綜合評價注射用雷貝拉唑鈉的藥理學作用。胃潰瘍模型有多種,目前比較常用的大鼠胃潰瘍模型主要有應激性潰瘍(水浸應激模型)、化學因素型胃潰瘍模型(吲哚美辛法、醋酸性)及幽門結扎型大鼠胃潰瘍模型等,隨著分子生物學技術的發展,相關技術也應用到潰瘍模型制備的領域中,如基因敲除技術、蛋白缺失技術等[11]。

圖3 特制工裝
1.卷筒 2.內嚙合齒輪 3.密封圈 4.緊固螺釘組件 5.封蓋 6.水槽

圖4 采用特制工裝完成卷筒及其內嵌式內嚙合齒輪的焊接
卷筒內外腔的水位線和焊縫的高度差最大限度地保證了整個焊接過程近似于在水中焊接的效果,配合特殊控制焊接熱量的焊接手法,極大程度地吸收了焊接所產生的熱量,在相對較低溫度條件下完成了焊接,將卷筒和內嚙合齒輪合為一體,且消除了焊接變形對幾何公差的影響,確保卷筒的基準軸心和內嚙合齒輪的基準軸心高度重合.為保證焊接時的水冷效果,可以適當加大水槽截面,并采用水泵進行循環水冷卻,使水槽和卷筒內的冷卻水形成一定的溫度差,快速吸收焊接時產生的熱量,這樣控制焊接變形的效果會更好.
在形成共意的過程中,各個屬性粉絲群體的意見領袖便在沖突關系中凸顯出來,隨著沖突關系的日趨激烈,他們的權威性便進一步樹立起來,成為其他粉絲競相追隨的對象,粉絲群體的凝聚力便由此提升。
通過設計、工藝、加工、裝配及焊接之間相互配合、改進和優化,較好地解決了在不銹鋼深卷筒內通過焊接緊固的方式完成零件合體,且達到將焊接熱變形的影響降低到最小的效果,從而保證了設計要求,極大地提高了產品的加工質量和精度,為類似結構的重要零部件提供了創新的思維模式和啟發性的工藝路線,也對類似結構不銹鋼產品的加工具有一定的參考價值.